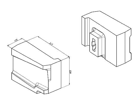
Schleuderplatte (Geschraubt) für den Magotteaux Mag’Impact 2400 – verschleißfeste Komponente, die das Fördermaterial beim Auswurf beschleunigt und die Schlagenergie effizient überträgt.
Die Schleuderplatte für den Magotteaux Mag’Impact 2400 ist ein hochbelastbares Verschleißteil, das auf dem Drehtisch des Vertikal-Prallbrechers montiert ist. Sie beschleunigt das aufgenommene Material und schleudert es gezielt zu den Prallplatten, wodurch eine hohe Kinetik und damit eine effiziente Zerkleinerung erreicht wird. Hergestellt aus widerstandsfähigen Legierungen (z. B. Metall-Matrix-Verbundstoffe oder Chromguss) und speziell auf die Betriebsbedingungen des Modells 2100 abgestimmt, sorgt sie für eine gleichmäßige Kornform, reduziert den Verschleiß anderer Bauteile und verlängert die Wartungsintervalle.